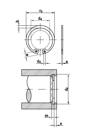
Pojistný kroužek DIN 472 (často nazývaný také Segerovka) je jednoduchý, ale vysoce účinný prvek, který slouží k axiálnímu zajištění hřídelí v otvoru. Díky své pružnosti se pevně zaklesne do drážky v otvoru a brání tak pohybu hřídele.
Kroužek DIN 472 pojistný 15
DotazPojistný kroužek DIN 472 do otvoru
| Kód: | PK152931.01 |
| DIN: | 472 |
| ČSN: | 022931 |
| Průměr: | 15 |
| Materiál: | ocel |
| Povrchová úprava: | bez úpravy |
skladem 1711 ks